Description
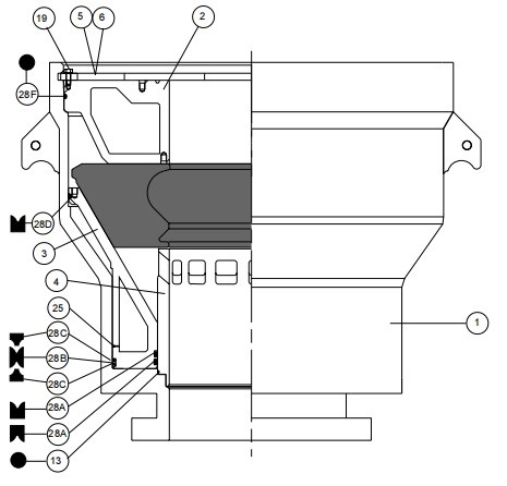
Hydril MSP diverter BOP 29-1/2" 500 PSI 1003275-02 packing element
1)HYDRIL 29-1/2” 500 “MSP” DIVERTER QTY: 01 Assy. 1 ea
2) Mud Cross Size 29 1/2″ working Pressure 500 Psi outlet flange 13 5/8″ x 2000 Psi with 12″x2 welding type flange Damcos ea
3) 12″ # 600 Diverter ball valves, Hyd Actuated, Flanged 13-5/8″ 2M R-57Type BRO Os2 A1 ea
4) 29 1/2″ welding type flange (500 Psi working pressure) 1 ea
5) Element rubber 29 1/2″ 1 ea
Packing Element for MSP 29 1/2" - 500 psi Diverter, P/N 1003275-02
The packing unit for the MSP diverter, manufactured by Cangzhou Fengliang Petroleum Machinery Co., Ltd, is crafted from high-quality rubber reinforced with flanged steel segments. This unit boasts a large volume of durable rubber, ensuring it can meet any requirement with ease.
The molded-in steel segments with top and bottom flanges anchor the packing unit securely within the diverter, controlling rubber extrusion and flow during well pressure sealing. By keeping the rubber under compression, tears and abrasions are effectively resisted, ensuring long-lasting performance.